红星资本局12月8日消息,据天眼查,近日,大连万达集团股份有限公司、万达地产集团有限公司等新增1条恢复执行信息,执行标的17亿余元,执行法院为甘肃矿区人民法院。

图据天眼查
大连万达集团股份有限公司成立于1992年9月,法定代表人为王健林,注册资本10亿人民币,经营范围包括商业地产投资及经营、酒店建设投资及经营、连锁百货投资及经营、电影院线等文化产业投资及经营等。股东信息显示,该公司由大连合兴投资有限公司、王健林共同持股。
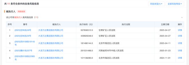
风险信息显示,目前,该公司存在10余条被执行人信息,被执行总金额超69亿元。

图据天眼查
自9月以来,关于王健林被“限高”消息不断,红星资本局此前报道,9月11日,据中国执行信息公开网显示,大连万达新增一则被执行人信息,执行标的4亿余元,执行法院为北京金融法院。
9月28日,针对近日大连万达及其法定代表人王健林等被限制高消费一事,红星资本局从万达知情人士处获悉,此事是“由于万达下属项目公司经济纠纷导致,事实上之前双方一直在通过多种方式协商解决,我们也正在了解具体情况,本次或是因在执行层面信息不对称导致”。
9月29日,红星资本局查询中国执行信息公开网发现,已无万达集团董事长王健林“限高”信息,仅能查询到大连万达集团股份有限公司执行信息及立案时间。同时,天眼查App上王健林“限高”风险已无显示。
近期,万达还因首次赎回一座万达广场引发关注,天眼查显示,12月2日,烟台芝罘万达广场有限公司发生工商变更,新华保险旗下坤华(天津)股权投资合伙企业(有限合伙)(以下简称坤华股权投资)、坤元辰兴(厦门)投资管理咨询有限公司退出股东行列,新增上海万达锐驰企业管理有限公司为全资控股股东,同时多位高级管理人员信息发生变更。
然而,12月3日,烟台芝罘万达广场有限公司工商信息再次变更。上海万达锐驰企业管理有限公司退出股东行列,苏州联商玖号商业管理有限公司变为全资持股,法定代表人及主要人员也有变动。
这意味着,万达集团首次赎回的一座万达广场,仅一天就被转让。

资料配图 图据视觉中国
据国家市场监督管理总局网站5月消息显示,已批准太盟珠海、高和丰德等经营者收购北京银河万达企业管理有限公司等48家公司股权案。
此外,万达又零星出售位于宣城、铜陵、安阳、四平、扬州等地的多座万达广场。据贝壳财经报道,截至10月1日,累计出售的万达广场数量已经超过80座。
(本文不构成投资建议,据此操作风险自担)
编辑 杨程 综合自第一财经、中新经纬、公开资料
审核 何先菊
48座万达广场易主,腾讯、太盟领衔“熟人团”接盘 据国家市场监管总局最新披露,由太盟、腾讯、京东潘达、阳光人寿等组成的财团已无条件获批收购大连万达旗下48座万达广场项目,覆盖北京、上海、广州等39个...
大悦城地产将结束12年的上市历程。11月24日,大悦城地产(00207.HK)发布公告称,其退市相关计划已于11月21日获法院认可,公司退市相关计划将于11月27日生效。 今年7月,大悦城地产发布退...
出品|达摩财经 “顶奢商场”SKP,即将迎来新股东博裕资本。 4月30日,北京市监局公示信息显示,博裕五期美元基金有限责任公司(下称“博裕五期”)将收购北京华联(SKP)百货有限公司(下称“北京SK...
在大本营长沙,文和友“网红打卡地”的地位不倒。 “五一”期间,长沙文和友人流量预计达数万人次,较往常翻了一倍。只是,口碑滑落以及复制困难,已如魔咒一般附身于这家餐饮文化服务商。 2月,坐落于太古汇裙楼...
山姆会员商店西北首店因为“考古”问题一直成为网友热议的话题。近日,山姆会员商店西北首家门店西安雁塔店迎来新消息: 1.文勘(考古)已经结束,正在办理土地手续。 2.雁南国际荟一期备案已获批复通过,计...
财大气粗的险资,加大配置不动产的力度。 “界面新闻”近日援引知情人士透露,英格卡购物中心(Ingka Centres)正计划打包出售其在中国持有的全部10座荟聚购物中心。 据报道,首批进入交易名单的是...