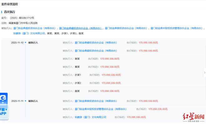
红星资本局11月12日消息 天眼查APP显示,铂爵游(厦门)文化有限公司(下称“铂爵游”)日前新增一则被执行人信息,厦门铂金鼎睿投资合伙企业(有限合伙)(下称“铂金鼎睿”)、厦门铂金鼎盛投资合伙企业(有限合伙)(下称“铂金鼎盛”)、谢某、黄某、许某1、许某2、詹某均被列为被执行人,执行标的1.75亿余元,执行法院为福建省厦门市中级人民法院。

据界面新闻,谢某、许某1、许某2分别为谢家章、许春盛、许春德。
红星资本局注意到,铂爵游为铂爵旅拍文化集团有限公司(下称“铂爵旅拍”)旗下公司,谢家章、许春盛、许春德均为铂爵旅拍股东。其中,许春盛为铂爵旅拍董事长、总经理、法定代表人,并担任铂金鼎睿、铂金鼎盛两家公司的执行事务合伙人;许春德为铂爵游的法定代表人。
铂爵旅拍成立于2014年12月,注册资本约5657万人民币,经营范围包括组织文化艺术交流活动、摄影扩印服务、摄像及视频制作服务等,由许春盛、谢家章、华润国调(厦门)股权投资合伙企业(有限合伙)等共同持股。
风险信息显示,该公司现存多条股权冻结信息,被执行人包括许春盛、厦门铂金鼎丰股权投资管理合伙企业(有限合伙)等。控制企业信息显示,该公司控制47家企业,其中28家企业处于存续状态,19家企业已注销。许春盛控制企业33家,其中16家企业处于存续状态,17家企业已注销。

图据视觉中国
红星资本局此前曾报道,今年7月,有媒体报道称,多位网友预订了铂爵旅拍的婚纱摄影,但是现在对接的工作人员微信不回、电话不接,官方售后电话也没人接,铂爵旅拍相关工作人员集体“失联”。7月18日,淘宝平台的铂爵旅拍旗舰店客服告诉红星资本局:“很抱歉,目前暂不接受新单预约拍摄,当前专注服务已拍客户的取件。”(详情请戳:铂爵旅拍被曝“失联”,客服:目前暂不接受新单预约拍摄)
据南方都市报报道,厦门市翔安区市场监督管理局工作人员曾表示,接到大量关于铂爵旅拍的投诉后,目前该公司处于停业状态,现场查看发现所有业务已停止。
红星新闻记者 俞瑶 周怡
编辑 陶玥阳 审核 官莉
微成都报道关张三年后,位于盐市口商圈、原为新世界百货的商业裙楼悄然换了“新装”。 微成都获悉,在原新世界百货建筑基础上改建而来的成都首家voco酒店,预计在今年暑期正式开启营业。微成都探访发现,酒店融...
(识局微信公共账号zhijuzk) 今年工作不好找,老陈想给女儿找一个体制内临时工先干着。一来过渡过渡,二来为考公做准备。 也就在前两年,区里某中层还热情的包揽下了老陈女儿工作的事。 老陈知道现在“逢...
稀土行业迎来实质性利好。 9日A股收盘后,北方稀土公告称,预计2025年上半年净利润为9亿元至9.6亿元,同比大幅增长1882.54%至2014.71%。受此影响,金力永磁H股尾盘直线拉升,由跌近4...
9月26日,国家金融监督管理总局厦门监管局发布公告称,核准王非厦门国际银行董事、董事长的任职资格。 此前的6月13日,厦门国际银行曾召开干部大会,宣布由王非任厦门国际银行党委书记,提名为董事长人选。...
第 2297期〡 2025/05/25 在陕北的黄土高原上,王海燕用一针一线绣出了一片属于民间艺术的天地。 作为王氏布艺制作技艺的传承人,她的故事始于祖辈的文化熏陶,扎根于对传统手工艺的热爱。从虎...
7月2日,A股整体回落,周期股护盘,沪指微跌;科技股回调,创业板指跌逾1%。市场交易量进一步萎缩,亏钱效应明显,近3300只个股收跌。 受访人士表示,科技股近期积累了一定获利盘,当前的调整属于正常走势...