大型家庭伦理剧《娃哈哈帝国继承者之战终结篇:长公主的复仇》仍在上映。
今晚的最新剧情——
知情人士跑出来对媒体说,宗馥莉已于9月12日向娃哈哈辞去公司法人代表、董事长等相关职务,并已通过集团股东会和董事会的相关程序。

而娃哈哈集团则回应媒体表示:宗馥莉辞职属实。
内部人士还透露,此次辞职是因商标使用“不合规”,宗馥莉欲启用新品牌“娃小宗”。
看起来,大小姐这次辞职,不再是逼宫,而是来真的了。
并且,很有可能是另起炉灶。

事实上,大小姐想要另起炉灶这事,可能早有端倪。
此前,一份题为“关于开展2026销售年度经销商沟通工作的通知”的娃哈哈内部文件,在网上流出。
当中提及,“自娃哈哈集团创始人离世后,公司一直努力推进解决各项历史相关遗留问题。”
为维护“娃哈哈”品牌使用的合规性,公司决定从2026年新的销售年度起,更换使用新品牌“娃小宗”。

该文件还提到,在现行股权架构下,“娃哈哈”商标的使用,须获得娃哈哈集团全体股东的一致同意,否则任何一方均无权使用。
基于此,公司将征求广大经销商的意见,并持续与相关股东就“娃哈哈”商标使用事宜保持积极沟通。

值得注意的是,该文件落款主体为包括杭州娃哈哈宏辉食品饮料有限公司在内的7家公司。

而这7家公司,都是宏胜饮料旗下业务销售主体。

更重要的是,落款时间,正是上文提及的宗馥莉辞职的时间,9月12日。

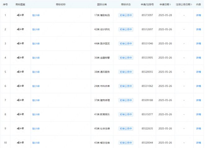
此外,“娃小宗”系列商标也归宏胜集团所有,商标申请日期为2025年2月至5月,涵盖餐饮住宿、办公用品、服装鞋帽、教育娱乐等领域。

都知道,娃哈哈商标并不不属于宗馥莉一个人。
而是由杭州国资持股46%;宗馥莉继承宗庆后,个人持股29.4%;基层工会(职工持股会)持有24.6%。

宗庆后去世后,价值超过900亿元的“娃哈哈”品牌商标归属,一度引发巨大争议。
今年2月,据国家知识产权局商标局官网,娃哈哈集团正对“娃哈哈”系列商标进行转让,目前“申请收文”环节已结束,申请日期为2025年1月21日。

随后,娃哈哈集团发布声明称,387件“娃哈哈”系列商标正在国家知识产权局申请由娃哈哈集团转让至杭州娃哈哈食品有限公司。

今年5月,娃哈哈集团进一步回应称,“因前期娃哈哈商标的转让目前尚处于登记备案过程中,具有不确定性,为此公司不排除在近期推出全新的自有品牌,并已为此次转型做好了相关的准备工作。”
现在看来,大小姐在那时候,就已经在做两手准备了。
还有就是,自今年2月开始,娃哈哈一口气关停包括陕西在内的18家工厂。
前脚关停,后脚宗馥莉就出手,投资10亿在西安建设西安饮品生产基地。
目前,该项目已审批通过,宏胜饮料间接持股90%。
看起来,大小姐可能很早就在谋划另起炉灶了。
当然,再创一个新品牌是一回事,市场认不认就是另外一回事了。
这当中还有一个小插曲。
就是不久之前,大小姐的“心腹”严雪峰,忽然被曝因涉嫌违纪,被杭州纪委带走调查。

中间还一度盛传,宗馥莉本人也被带走了。
当然,最终证实是“假消息”,知情人士称宗馥莉前天还在正常上班。
被带走调查的严学峰,也于10月5日被解除立案审查,已经回到宏胜集团正常上班。

前脚心腹被调查,大小姐自己也盛传被带走;
后脚,辞职的风声便传出来并落实了。
很难说,这二者当中是否有关联…
当然,更值得关注的是,在宗馥莉辞职之后,娃哈哈,这个曾经大家都很熟悉的民族品牌,又当何去何从?!
谁会成为娃哈哈新的掌舵者?!国资会全面进场吗?!
这事,你怎么看?
红星资本局10月11日消息,红星资本局10日晚间从知情人士处获悉,宗馥莉已于9月12日向娃哈哈集团有限公司辞去公司法定代表人、董事及董事长等相关职务并已通过集团股东会和董事会的相关程序。 工商登记信息...